Chủ nhật, 31/12/2023, 12:40 (GMT+7)
Cơ cấu dẫn động ly hợp có nhiệm vụ truyền lực của người lái từ bàn đạp ly hợp đến các đòn mở để thực hiện việc đóng mở ly hợp. Trong bài viết này tác giả sẽ giới thiệu 2 loại chính: Dẫn động bằng cơ khí và dẫn động bằng thủy lực.
1. Cơ cấu dẫn động bằng cơ khí
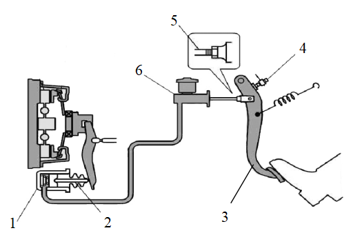
Cơ cấu dẫn động ly hợp kiểu cơ khí là hệ thống dẫn động điều khiển ly hợp bằng các thanh đòn, khớp nối, được lắp đặt theo nguyên lý đòn bẩy, loại dẫn động điều khiển ly hợp đơn thuần này có kết cấu đơn giản, dễ chế tạo và có độ tin cậy làm việc cao. Nhược điểm cơ bản của kiểu dẫn động này là yêu cầu lực tác động của người lái lớn khi tác động lên bàn đạp ly hợp, nhất là đối với loại xe ôtô hạng nặng.

Hình 1. Cơ cấu dẫn động ly hợp bằng cơ khí
1. Bàn đạp ly hợp; 3. Khớp; 4. Vòng bi tỳ (T); 5. Thanh kéo; 6. Đòn bẩy; 2,7. Lò xo kéo; 8. Chạc nhả ly hợp (càng cua).
2. Cơ cấu dẫn động bằng thủy lực
Cơ cấu dẫn động ly hợp dẫn động bằng thủy lực được dùng khi vị trí của ly hợp không thuận tiện cho việc dùng cáp hay thanh truyền hoặc ở những động cơ có tính năng kỹ thuật cao. Ưu điểm là việc bố trí của các chi tiết trong hệ thống khỏ linh hoạt, việc cắt ly hợp êm dịu hơn tuy nhiên lực dẫn động mở ly hợp cũng không được lớn lắm, áp dụng cho các xe du lịch và xe tải nhỏ.
* Sơ đồ cấu tạo chung như hình vẽ:

Hình 2. Cơ cấu dẫn động ly hợp bằng thủy lực
1. Xi lanh cắt ly hợp; 2. Cần đẩy; 3. Bàn đạp ly hợp; 4. Bulông chặn bàn đạp; 5. Cần đẩy; 6. Xy lanh chính.
* Bàn đạp ly hợp
Bàn đạp ly hợp: tạo áp suất thủy lực trong xy lanh chính bằng lực ấn vào bàn đạp, áp suất này sẽ tác dụng lên xy lanh cắt ly hợp để đóng, ngắt ly hợp.

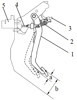
Hình 3. Cấu tạo bàn đạp ly hợp
a: Hành trình của bàn đạp ly hợp; b: Chiều cao của bàn đạp ly hợp; 1. Bàn đạp ly hợp;
2. Lò xo hồi; 3. Vít điều chỉnh; 4. Cần đẩy; 5. Xy lanh chính của ly hợp.
Hành trình tự do của bàn đạp ly hợp là khoảng cách mà bàn đạp ly hợp được ấn cho đến khi vũng bi cắt ly hợp tỏc dụng vào đĩa ép. Khi đĩa ma sát bị mũn hành trỡnh tự do của bàn đạp bị giảm. Nếu đĩa tiếp tục bị mũn, hành trỡnh tự do của bàn đạp ly hợp không cũn sẽ gõy hiện tượng trượt ly hợp. Do đó cần phải duy trỡ hành trỡnh tự do của bàn đạp ly hợp. Việc duy trỡ hành trỡnh tự do của bàn đạp ly hợp tiến hành bằng cách điều chỉnh độ dài của cần đẩy xy lanh cắt ly hợp đối với loại có thể điều chỉnh được. Điều chỉnh độ cao của bàn đạp ly hợp bằng bulông chặn bàn đạp, điều chỉnh độ cao của bàn đạp ly hợp giúp cho quá trình mở ly hợp được diễn ra hoàn toàn (mở hết).
* Xy lanh chính của ly hợp
Xy lanh chính của ly hợp làm nhiệm vụ tạo áp suất thủy lực cho xy lanh cắt ly hợp điều khiển quá trình đóng mở ly hợp. Cấu tạo của xy lanh chính được trình bày trên hình vẽ:

Hình 3. Xy lanh chính của ly hợp
1. Thanh nối; 2. Lò xo; 3. Lò xo hãm; 4. Piston; 5. Cần đẩy; 6. Bình chứa dầu.
Vỏ xy lanh chính của ly hợp được chế tạo bằng gang có mặt bích và lỗ khoan để bắt trên giá đỡ. Xy lanh dài đường kính nhỏ tạo điều kiện nhanh chóng tăng áp lực dầu khi đạp bàn đạp ly hợp. Hoạt động của xy lanh chính ly hợp:
Khi ấn bàn đạp: Piston dưới tác dụng của cần đẩy dịch chuyển về bên trái, dầu trong xy lanh chính qua van nạp chảy đến bỡnh chứa đồng thời chạy đến xy lanh cắt ly hợp. Khi piston tiếp tục dịch chuyển về bên trái thanh nối sẽ tách ra khỏi bộ phận hóm lò xo van nạp bị đóng lại. Do đó hình thành áp suất tại buồng A và áp suất này truyền đến xy lanh cắt ly hợp.
Khi nhả bàn đạp: Khi nhả bàn đạp ly hợp lò xo nộn đẩy về bên phải áp suất giảm xuống, khi piston trở về hoàn toàn bộ phận hóm lò xo đẩy thanh nối về bên phải. Như vậy van nạp được mở nối bánh A với bánh B.
* Xy lanh cắt ly hợp
Xy lanh cắt ly hợp tiếp nhận áp suất thủy lực từ xy lanh chính, điều khiển càng cắt ly hợp thông qua cần đẩy. Xy lanh cắt ly hợp có 2 loại: loại tự động điều chỉnh khe hở khi đĩa ma sát mòn, loại phải điều chỉnh bằng tay.
Loại tự động điều chỉnh: lò xo bên trong xy lanh luôn ép cần đẩy vào càng cắt ly hợp giữ cho hành trình tự do của bàn đạp ly hợp không đổi.
Loại có thể điều chỉnh được: ta trực tiếp điều chỉnh độ dài của cần đẩy và càng cắt ly hợp để đảm bảo hành trình tự do của bàn đạp khi đĩa ma sát bị mòn trong quá trình hoạt động.